ECS晶體,貼片晶振,ECX-3SX晶振
頻率:3.570MHz~70.000MHz
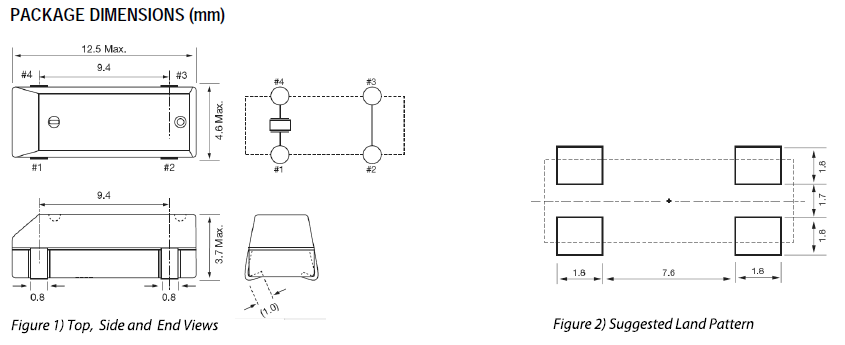
尺寸:12.5*4.6*3.7mm
自1980年成立,在國際范圍內開展業務已近35年,自成立以來超過3.0億石英晶振元件的傳遞。ECS公司國際公司作為其唯一的使命,致力于提供最先進的創新頻率提供給世界的控制技術。我們的目標是建立客戶的需求和我們導致解決方案,使電子世界變得更美好的先進產品之間的橋梁。公司的頂尖人才和技術,配合創新的產品開發理念,可能在設計需要精確計時的復雜應用程序時解決復雜的客戶問題。ECS晶體,貼片晶振,ECX-3SX晶振
ECS致力于走在最前沿,擁有各種先進的技術,使我們能夠做到快速、高效地生產頻率控制產品。作為我們對大會的承諾的一部分技術領先,ECS,inc .擁有設計、部件、工藝、測試、制造和質量與客戶合作,優化生產能力和穩定性時鐘晶振的設計。ECS,Inc.國際質量標準體現了卓越的商業實踐和產品,通過無盡的承諾:滿足和超越客戶的期望,實現世界一流的客戶滿意度。
ECS晶體,貼片晶振,ECX-3SX晶振.小型表面貼片晶振型,是標準的石英晶體諧振器,適用于寬溫范圍的電子數碼產品,家電電器及MP3,MP4,播放器,單片機等領域.可對應3.570MHz以上的頻率,在電子數碼產品,以及家電相關電器領域里面發揮優良的電氣特性,滿足無鉛焊接的回流溫度曲線要求.ECS-122.8-20-7SX-TR晶振,陶瓷封裝大體積晶振,ECX-3SX晶振
ECS石英晶振高精度晶片的拋光技術:貼片晶振是目前晶片研磨技術中表面處理技術的最高技術,最終使晶振晶片表面更光潔,平行度及平面度更好,降低諧振電阻,提高Q值。從而達到一般研磨所達不到的產品性能,使石英晶振的等效電阻等更接近理論值,使晶振可在更低功耗下工作。使用先進的牛頓環及單色光的方法去檢測晶片表面的狀態。
單位 |
ECX-3SX晶振 |
石英晶振基本條件 |
|
標準頻率 |
f_nom |
3.570MHz~70.000MHz |
標準頻率 |
儲存溫度 |
T_stg |
-40°C~+85°C |
裸存 |
工作溫度 |
T_use |
-10°C~+70°C |
標準溫度 |
激勵功率 |
DL |
100μW Max. |
推薦:100μW |
頻率公差 |
f_— l |
±30 × 10-6 (標準) |
+25°C 對于超出標準的規格說明, |
頻率溫度特征 |
f_tem |
±50 × 10-6/-10°C~+70°C |
超出標準的規格請聯系我們. |
負載電容 |
CL |
7pF |
不同負載要求,請聯系我們. |
串聯電阻(ESR) |
R1 |
如下表所示 |
-10°C~+70°C, DL = 100μW |
頻率老化 |
f_age |
±5× 10-6 / year Max. |
+25°C,第一年 |
超聲波清洗
(1)使用AT-切割晶體和表面聲波(SAW)諧振器/聲表面濾波器的產品,可以通過超聲波進行清洗。但是,在某些條件下, 大體積貼片晶振特性可能會受到影響,而且內部線路可能受到損壞。確保已事先檢查系統的適用性。
(2)使用音叉晶體和陀螺儀傳感器的產品無法確保能夠通過超聲波方法進行清洗,因為晶體可能受到破壞。
(3)請勿清洗開啟式產品
(4)對于可清洗產品,應避免使用可能對陶瓷殼無源晶振產生負面影響的清洗劑或溶劑等。
(5)焊料助焊劑的殘留會吸收水分并凝固。這會引起諸如位移等其它現象。這將會負面影響晶振的可靠性和質量。請清理殘余的助焊劑并烘干PCB。
操作
請勿用鑷子或任何堅硬的工具,夾具直接接觸IC的表面。
使用環境(溫度和濕度)
請在規定的溫度范圍內使用12.4*4.4mm壓電石英晶體。這個溫度涉及本體的和季節變化的溫度。在高濕環境下,會由于凝露引起故障。請避免凝露的產生。
輸出波形與測試電路
1.時序表
2.測試條件
(1)電源電壓
超過 150µs,直到電壓級別從 0 %達到 90 % 。
電源電壓阻抗低于電阻 2Ω。ECS-122.8-20-7SX-TR晶振,陶瓷封裝大體積晶振,ECX-3SX晶振
(2)其他
輸入電容低于 15 pF
5倍頻率范圍或更多測量頻率。
鉛探頭應盡可能短。
測量頻率時,探頭阻抗將高于 1MΩ。當波形經過振蕩器的放大器時,可同時進行測量。
(3)其他
CL包含探頭電容。
應使用帶有小的內部阻抗的電表。
使用微型插槽,以觀察波形。
(請勿使用該探頭的長接地線。)ECS晶體,貼片晶振,ECX-3SX晶振
3.測試電路
公司名:深圳市金洛鑫電子有限公司
聯系人:茹紅青
手機:13510569637
電話:0755-27837162
QQ號:657116624
微信公眾號:CITIZENCRYSTAL
搜狐公眾號:晶振石英晶振NDK晶振
郵箱:jinluodz@163.com
地址:深圳市寶安區41區甲岸路19號
相關的產品 / Related Products
- ILSI晶振,貼片晶振,IL3R晶振,進口無源晶振
- 32.768K時鐘晶體具有小型,薄型,輕型的貼片晶振表面音叉型晶體諧振器,產品具有優良的耐熱性,耐環境特性,可發揮晶振優良的電氣特性,符合RoHS規定,滿足無鉛焊接的高溫回流溫度曲線要求,金屬外殼的封裝使得產品在封裝時能發揮比陶瓷諧振器外殼更好的耐沖擊性.
- 愛普生晶振,貼片晶振,MA-505晶振,石英SMD晶體,MA-505 40.0000M-C0:ROHS
- 貼片晶振本身體積小,"MA-505 40.0000M-C0:ROHS"超薄型石英晶體諧振器,特別適用于有目前高速發展的高端電子數碼產品,因為晶振本身小型化需求的市場領域,小型,薄型是對應陶瓷諧振器(偏差大)和普通的石英晶體諧振器(偏差小)的中間領域的一種性價比較出色的產品.產品廣泛用于筆記本電腦,無線電話,衛星導航HDD, SSD, USB, Blu-ray等用途,符合無鉛焊接的高溫回流焊曲線特性.
- ECS晶振,石英晶體諧振器,CSM-12晶振
貼片晶振本身體積小,超薄型石英晶體諧振器,特別適用于有目前高速發展的高端電子數碼產品,因為晶振本身小型化需求的市場領域,小型?薄型是對應陶瓷諧振器(偏差大)和普通的石英晶體諧振器(偏差小)的中間領域的一種性價比較出色的產品.產品廣泛用于筆記本電腦,無線電話,衛星導航HDD, SSD, USB, Blu-ray等用途,符合無鉛焊接的高溫回流焊曲線特性.
JLX-PD
金洛鑫產品系列
PRODUCT LINE
石英晶振
QuartzCrystal
- KDS晶振
- 愛普生晶振
- NDK晶振
- 京瓷晶振
- 精工晶振
- 西鐵城晶振
- 大河晶振
- 村田晶振
- 泰藝晶振
- TXC晶振
- 鴻星晶振
- 希華晶振
- 加高晶振
- 百利通亞陶晶振
- 嘉碩晶振
- 津綻晶振
- 瑪居禮晶振
- 富士晶振
- SMI晶振
- Lihom晶振
- SHINSUNG晶振
- NAKA晶振
- AKER晶振
- NKG晶振
- NJR晶振
- Sunny晶振
貼片晶振
SMDcrystal
- CTS晶振
- 微晶晶振
- 瑞康晶振
- 康納溫菲爾德晶振
- 高利奇晶振
- Jauch晶振
- AbraconCrystal晶振
- 維管晶振
- ECScrystal晶振
- 日蝕晶振
- 拉隆晶振
- 格林雷晶振
- SiTimeCrystal晶振
- IDTcrystal晶振
- PletronicsCrystal晶振
- StatekCrystal晶振
- AEK晶振
- AEL晶振
- Cardinal晶振
- Crystek晶振
- Euroquartz晶振
- Fox晶振
- Frequency晶振
- GEYER晶振
- KVG晶振
- ILSI晶振
- Mmdcomp晶振
- MtronPTI晶振
- QANTEK晶振
- QuartzCom晶振
- Quarztechnik晶振
- Suntsu晶振
- Transko晶振
- Wi2Wi晶振
- ITTI晶振
- Oscilent晶振
- ACT晶振
- Rubyquartz晶振
- MTI-milliren晶振
- PDI晶振
- IQD晶振
- Microchip晶振
- Silicon晶振
- Anderson晶振
- Fortiming晶振
- CORE晶振
- NIPPON晶振
- NIC晶振
- QVS晶振
- Bomar晶振
- Bliley晶振
- GED晶振
- FILTRONETICS晶振
- STD晶振
- Q-Tech晶振
- Wenzel晶振
- NEL晶振
- EM晶振
- PETERMANN晶振
- FCD-Tech晶振
- HEC晶振
- FMI晶振
- Macrobizes晶振
- AXTAL晶振
- ARGO晶振
- 瑞薩renesas晶振
- Skyworks晶振